lunedì , 20 Aprile 2026
AE NEWS
Home < NEWS DALLE AZIENDE < Ego Smart è brevetto registrato

Ego Smart è brevetto registrato

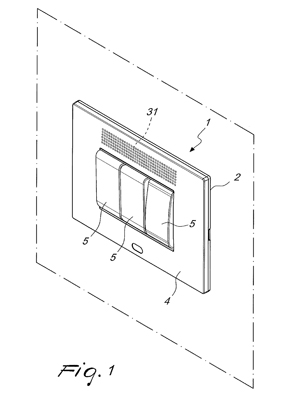
Con un atto ufficiale, la Direzione Generale per la Tutela della Proprietà Industriale (ufficio del Ministero delle Imprese e del Made in Italy) ha assegnato a Gewiss l’Attestato di Brevetto per la placca intelligente Ego Smart, la cui domanda è stata depositata nel 2021 dal Cav. Lav. Domenico Bosatelli, a testimonianza del forte legame tra il fondatore e la sua azienda nel corso del lungo cammino imprenditoriale intrapreso insieme. Nella descrizione di dettaglio risulta chiaro che il brevetto rivendica la “Struttura di copertura con display integrato, associabile ad una base atta a supportare frutti, detta struttura essendo caratterizzata dal fatto di comprendere un elemento guida-luce associato ad un modulo elettronico il quale e coperto da una pellicola traslucida associata ad una struttura portante; detto modulo elettronico essendo un circuito stampato comprendente almeno una matrice Led; detta matrice Led costituendo un display visibile attraverso detta pellicola; detto modulo elettronico avendo un sensore TOF il quale effettua rilevamenti attraverso una sede formata in detta struttura portante; detto display essendo configurato per visualizzare uno stato funzionale di detti frutti; detta struttura portante presentando una zona trasparente in corrispondenza di detto modulo di detta matrice Led atta al passaggio della luce; detta struttura portante presentando una sede per detto sensore TOF e detta pellicola presentando un’ apertura in corrispondenza di detta sede del sensore TOF”. Paolo Cervini, CEO di Gewiss, ha dichiarato: “Questo traguardo ci proietta nel futuro, ma si fonda sull’eredità di chi ha fatto la storia della nostra azienda fin dalla sua fondazione. La domanda di brevetto depositata dal Cavaliere del Lavoro Domenico Bosatelli è stata solo l’ultima pietra miliare di un lungo percorso di continua innovazione e lungimiranza. Grazie anche a questo lascito oggi guardiamo al futuro con ancora più orgoglio, guidati dall’inventiva e dalla creatività, nello spirito di una grande eredità”.

 

07.08.23